Din kurv er tom
![]()
![]()
![]()
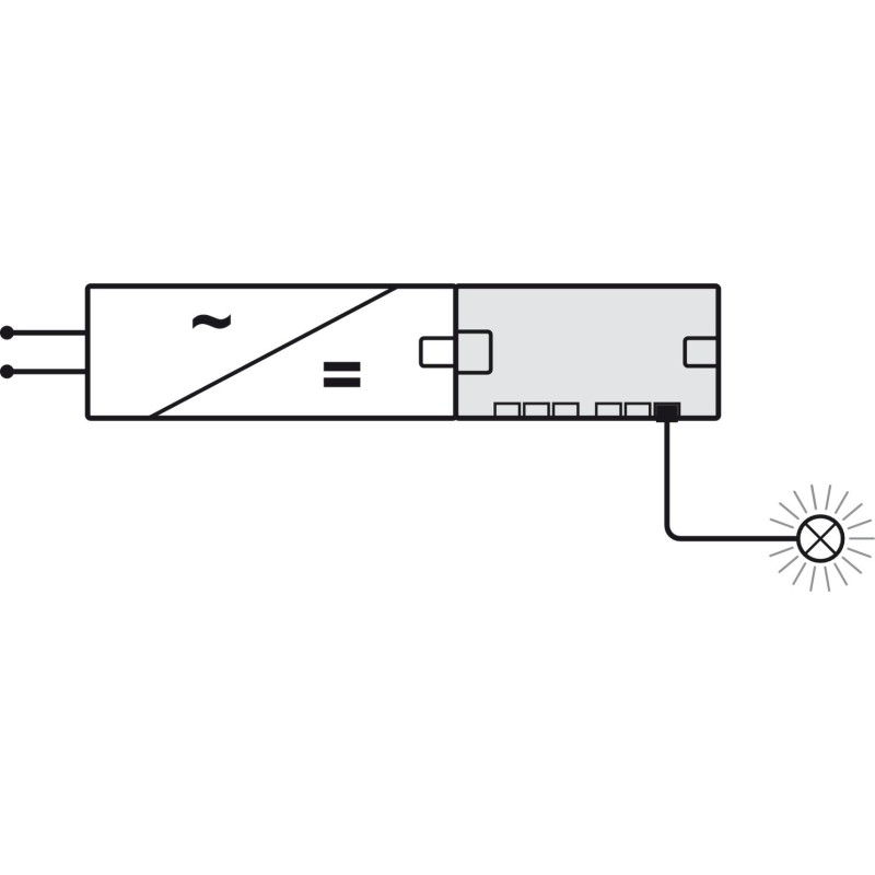
Loox5 fordeler uden kontakt funktion - 24V.
En fordeler uden kontakt funktion sørger for at der er konstant strøm igennem fordeleren, altså at alle dele får en ligeligt fordelt mængde af strøm. Få et jævnt udtryk i din lys-opsætning med en fordeler uden switch funktion.
OBS! Dette er del 2 ud af 2 - du SKAL anvende en strømforsyning som du finder under tilbehør.
Denne anvendes hvis du evt. blot ønsker at tænde og slutte lyset på stikkontakten.
- Materiale: Plastik
- Farve: Sort
- Spænding: 24V
- Maks tilsluttet effekt: 90W
- Mål (L x B x H): 120 x 50 x 16 mm
- 6 udgange
OBS! Du kan tilslutte et hvilket som helst antal fordelere til en netdel, MEN hold øje med den maksimale udgangseffekt på den netdel, som du tilslutter fordeleren til.
Pakken indeholder:
1 stk fordeler

.png)












Din vurderings anerkendelse kan ikke sendes
Rapporter kommentarer
Rapport sendt
Din rapport kan ikke sendes