Din kurv er tom
Innovativt samlebeslag fra Häfele. Ixconnect UC 16/64 er lavet til et utal af anvendelser fra montering af væg paneler, kabelføring, hjørnesamlinger i møbler til opbygning af messestande.
Beslaget fungerer ved samling via fjederklemme og indgrebpunkter, som, sammen med variable skruepositioner, giver et utal af monteringsmuligheder fra oven, forfra eller fra siderne. Kan samle i 90°, 135° eller 180° vinkler.
Samlebeslagets bæreevne varierer alt efter hvor mange beslag der monteres. Der er ikke forskel på ramme- og pladedel. Ét beslag - et hav af muligheder.
- Materiale: Polykarbonat
- Farve: Sort
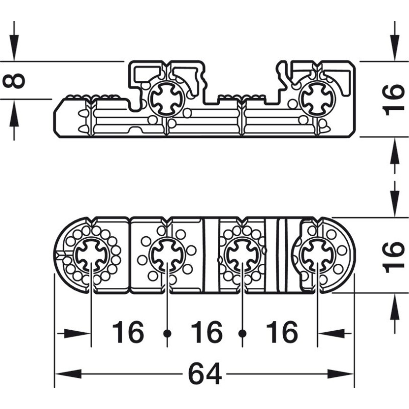
- Mål (L x B x H): 64 x 16 x 16 mm
- Montage: Påskruning med spånpladeskruer Ø4 mm eller euro-skruer til borehul Ø5 mm.
- Egnet til montage i hulrække 32 (Ixconnect)
Se mål på den tekniske tegning.
Man skal bruge to styks for at kunne sammensætte beslaget. Derfor kan der kun bestilles 2 stk. ad gangen
OBS! Skruer medfølger IKKE! Se tilbehør.
Henvisning
Se videoen herunder for at se hvordan dette samlebeslag fungerer og dets mange muligheder ↓
Leveringen indeholder
1 samlebeslag

.png)












Din vurderings anerkendelse kan ikke sendes
Rapporter kommentarer
Rapport sendt
Din rapport kan ikke sendes