Din kurv er tom

Skydeskabsbeslag Hawa Clipo 26 H IF er et simpelt beslag til små til mellemstore skabslåger. Gør det selv skydelåger til stuen og garderoben med kvalitetsbeslag.
Hawa er en af de helt store producenter af skydebeslag til både døre og skabe, som har fleksibilitet og modernitet i fokus. Med et Hawa beslag kan du være sikker på, at kvaliteten holder i mange år.
Beslaget passer til indeniliggende skabslåger, hvilket vil sige skabslåger som sidder inde i skabet. Passer til 2 låger. Har ikke integreret soft-close, men dette kan tilkøbes. Se tilbehør.
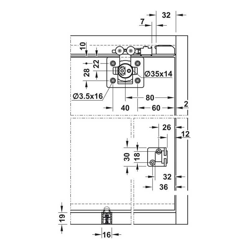
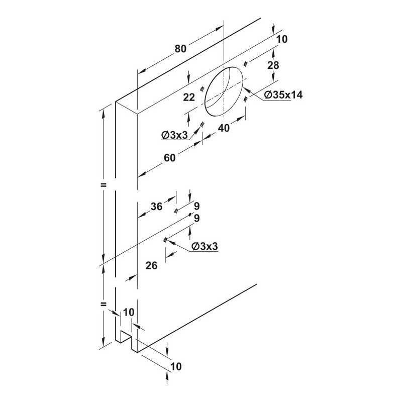
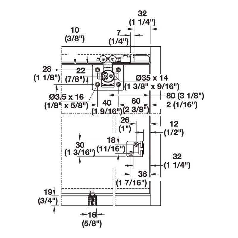
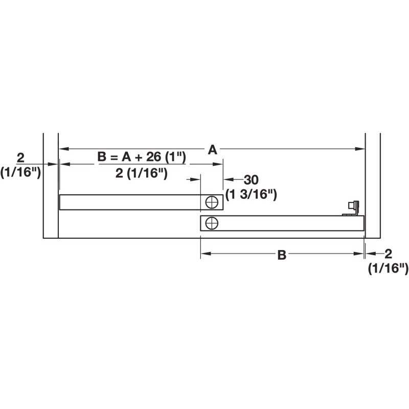
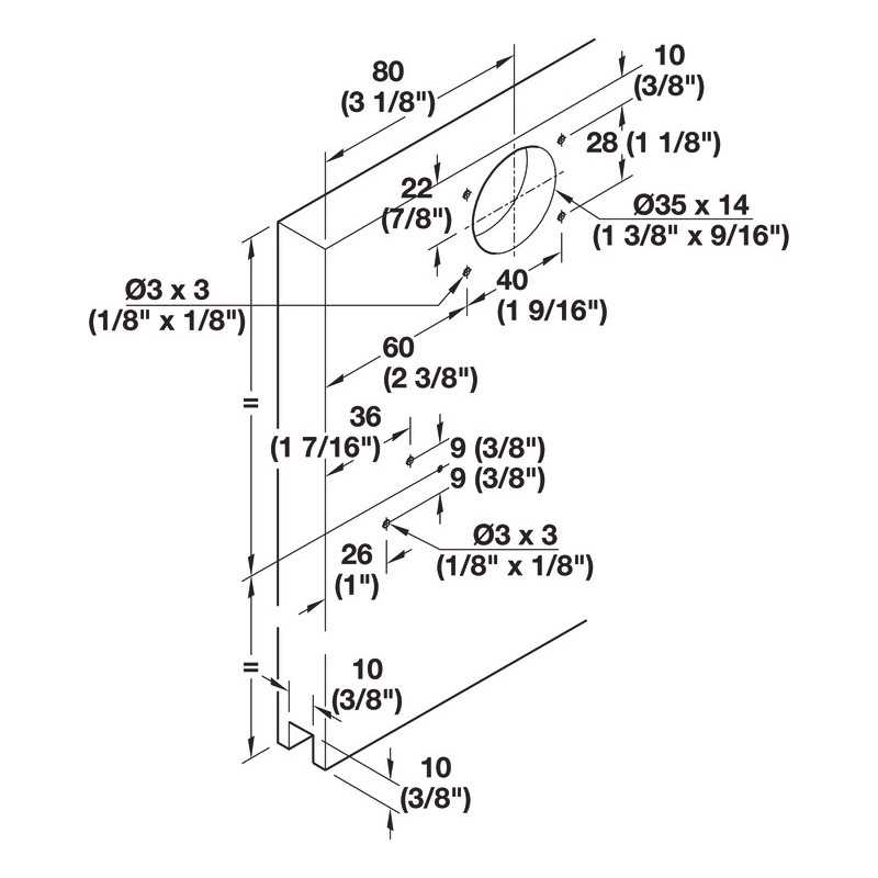
Beslaget kan klare en lågevægt på op til 26 kg, og kan justeres med ±2 mm. Vægt belastningen ligger i toppen mens lågen styres i styrbeslaget nederst.
Interesseret i at vide mere generelt omkring skydedøre? Så klik her
- Antal låger: 2 låger
- Lågetykkelse: 19-25 mm
- Lågevægt: Maks. 26 kg
- Lågehøjde: ≤2200 mm
- Lågebredde: ≤1000 mm
- Materiale:
- Kørebeslag og hus: plastik
- Styr: stål
- Højdejustering: ±2 mm med excenterskrue
- Vægt belastning: Ligger i toppen
- Montering: påskruning af kørebeslag og styr
| Antal dør | Version | Leveringen indeholder |
| Til 2 dør | Med clip-in dørstopper | 4 kørebeslag 2 styr 4 dørstopper med clip-in funktion 1 lågemedbringer Montagemateriale |
OBS! Skinner skal bestilles ved siden af! Find dem under tilbehøret under beskrivelsen her. Skinner er nødvendige for at systemet fungerer.

.png)












Din vurderings anerkendelse kan ikke sendes
Rapporter kommentarer
Rapport sendt
Din rapport kan ikke sendes